[caption id="attachment_5828" align="aligncenter" width="620"]
Photo courtesy Andrew Scrivani.[/caption]
Product photographers watching the Colbert Report last week may have been a little surprised to hear that one of the most ubiquitous set-ups in the business now officially belongs to one particularly giant online retailer.
"Amazon...has been granted the patent for photography against a white background," Colbert reported. "You heard that right. Amazon now has legal ownership over the idea of displaying a thing."
He was talking about Patent #8,676,045, which was granted to Amazon earlier this month, and, as TechDirt's Tim Cushing notes, "pretty much looks like every photo studio in the history of photo studios."
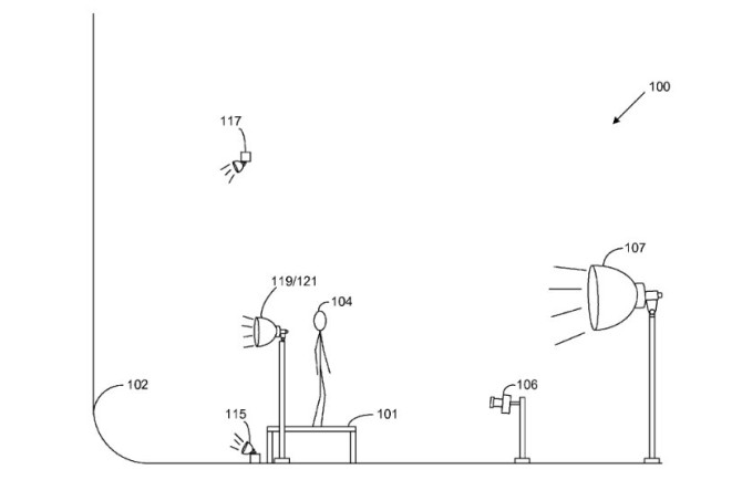
Here's the image that accompanied the patent:
According to the United States Patent Office, "one embodiment of the disclosure includes a front light source aimed at a background, an image capture position located between the background and the front light source, an elevated platform positioned between the image capture position and the background, and at least one rear light source positioned between the elevated platform and the background. A subject can be photographed and/or filmed on the elevated platform to achieve a desired effect of a substantially seamless background where a rear edge of the elevated platform is imperceptible to an image capture device positioned at the image capture position."
Fortunately, CNet reports, "the technique is very specific about the placement of lights and other equipment. That should ease the minds of any photographers worried about a patent suit...because they could sidestep liability by fiddling with the photography formula." And indeed, Cushing agrees, the event of litigation against product photographers as a result of the new Amazon patent seems "unlikely," because the specifications in the patent are very precise, including exact language about the angle of the set-up and the ISO of the camera.
Additionally, the Amazon patent explicitly states that the company's style of product photography is different than others, because it doesn't require retouching. Again, from the patent:
"Post-processing or retouching of images and/or video captured in a studio environment can be time consuming and/or resource intensive, particularly when a consistent look and feel is desired and the items photographed in the studio environment are non-uniform."
Still, many, many photography websites are calling foul — both on Amazon, and on the U.S. Patent Office.
"Critics of the deal from the tech and photography worlds are split on what they see as the bigger affront: the gullibility of the US Patent and Trade Office, or the genius of Amazon’s patent lawyers," writes Nick Stockton at Quartz.
Even Colbert couldn't stop himself from mocking the patent, which is a staple of online stores and stock photography.
"Well, folks, I'm so impressed with Amazon's state of the art calling-of-dibs...so tonight, I'm officially filing a patent on the idea of filing patents."
Unfortunately for Colbert, someone has probably beat him to it. The US Patent Office moves notoriously slowly; Amazon filed for this one way back in 2011.
Photo courtesy Andrew Scrivani.[/caption]
Product photographers watching the Colbert Report last week may have been a little surprised to hear that one of the most ubiquitous set-ups in the business now officially belongs to one particularly giant online retailer.
"Amazon...has been granted the patent for photography against a white background," Colbert reported. "You heard that right. Amazon now has legal ownership over the idea of displaying a thing."
He was talking about Patent #8,676,045, which was granted to Amazon earlier this month, and, as TechDirt's Tim Cushing notes, "pretty much looks like every photo studio in the history of photo studios."
Here's the image that accompanied the patent:
According to the United States Patent Office, "one embodiment of the disclosure includes a front light source aimed at a background, an image capture position located between the background and the front light source, an elevated platform positioned between the image capture position and the background, and at least one rear light source positioned between the elevated platform and the background. A subject can be photographed and/or filmed on the elevated platform to achieve a desired effect of a substantially seamless background where a rear edge of the elevated platform is imperceptible to an image capture device positioned at the image capture position."
Fortunately, CNet reports, "the technique is very specific about the placement of lights and other equipment. That should ease the minds of any photographers worried about a patent suit...because they could sidestep liability by fiddling with the photography formula." And indeed, Cushing agrees, the event of litigation against product photographers as a result of the new Amazon patent seems "unlikely," because the specifications in the patent are very precise, including exact language about the angle of the set-up and the ISO of the camera.
Additionally, the Amazon patent explicitly states that the company's style of product photography is different than others, because it doesn't require retouching. Again, from the patent:
"Post-processing or retouching of images and/or video captured in a studio environment can be time consuming and/or resource intensive, particularly when a consistent look and feel is desired and the items photographed in the studio environment are non-uniform."
Still, many, many photography websites are calling foul — both on Amazon, and on the U.S. Patent Office.
"Critics of the deal from the tech and photography worlds are split on what they see as the bigger affront: the gullibility of the US Patent and Trade Office, or the genius of Amazon’s patent lawyers," writes Nick Stockton at Quartz.
Even Colbert couldn't stop himself from mocking the patent, which is a staple of online stores and stock photography.
"Well, folks, I'm so impressed with Amazon's state of the art calling-of-dibs...so tonight, I'm officially filing a patent on the idea of filing patents."
Unfortunately for Colbert, someone has probably beat him to it. The US Patent Office moves notoriously slowly; Amazon filed for this one way back in 2011.